按4类化药注册申报的阿哌沙班片上市申请已获受理。该品种曾是全球小分子药物销冠,年销超千亿元;

阿哌沙班(Apixaban)是一种新型口服抗凝药,可以直接、可逆、高选择性地阻断Ⅹa因子的活性位点,阻断凝血酶原转化为凝血酶,从而预防血栓形成,用于治疗血栓栓塞性疾病。

阿哌沙班片由百时美施贵宝辉瑞联合研发,2011年率先在欧盟上市,2012年12月获美国FDA批准,2013年进入中国市场,商品名为“艾乐妥”,并于2017年纳入国家医保Kaiyun网站目录。
阿哌沙班在全球市场表现卓越。据摩熵医药数据库显示,该药2021年全球销售额为167.32亿美元,成功登顶全球小分子药物销售榜首。2022年,其以182.69亿美元(1274亿人民币)位居全球第二,仅次于新冠药物Paxlovid;2024年销售额突破两百亿美元,达到206.99亿,持续领跑全球抗凝药市场。

然而这个年销售额超1000亿元的抗凝“巨头”,进入中国市场后却明显“水土不服”。阿哌沙班在我国院内最高销售额仅1.16亿元,2020年被纳入第三批国家集采后,院内销售额持续下滑,与全球市场形成鲜明反差。

第三批国家集中带量采购中,齐鲁制药,正大天晴、豪森药业、嘉逸医药的阿哌沙班中标,平均降幅高达90.29%。齐鲁制药降价幅度Kaiyun网站最为突出,以96.55%的降幅将产品单片价格降至 0.98元,实现了药品价格的大幅“跳水”。

阿哌沙班在国内市场“遇冷”,一是缺乏大适应症,其在国内仅获批关节置换术后的出血预防,未能触及房颤人群预防脑卒中和全身性栓塞的核心需求市场;二是仿制药冲击。
豪森药业于2019年通过专利诉讼获得首仿上市,国内仿制药迅速涌现,叠加集采的降价“围剿”,原研百时美施贵宝的院内市场份额由2019年的81.22%断崖式下跌至2024年的0.67%。


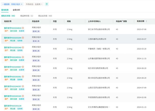
摩熵医药数据显示,当前国内共有45个阿哌沙班片的有效生产批文,42家企业已完成过评或视同过评。正大天晴、科伦药业、复星医药、石药集团、扬子江药业等众多知名药企均参与其中。

另有天方药业、广东彼迪医药、云鹏医药、河北凯威恒诚制药4家药企提交了仿制上市申请,市场竞争已趋白热化。

国内的阿哌沙班片获批规格和适应症均与原研完全重合,且无企业申报新适应症临床,使得仿制药企业只能在同一赛道内竞争,深陷缺乏差异化、仅靠价格比拼的同质化竞争困境。
日前,江苏省药监局向南京三迭纪医药核发了全国首张应用于3D打印技术药品生产的《药品生产许可证》,公司首款3D打印药物——阿哌沙班片(T20j)已具备上市注册条件。这一创新成果有望为当前陷入同质化竞争的阿哌沙班市场,提供一条全新的破局思路。

从全球“药王”到国内市场的挑战与新转机,阿哌沙班未来的发展路径充满变数,其最终走向究竟如何,让我们共同拭目以待。
